运输任务精准派发,支持单车辆手动派发与多车辆批量导入,绑定班线、司机与时间规划,同步触发运单状态自动流转,适配运输中 “任务标准化派发、多车辆协同调度” 的高效作业需求。
基础操作:进入功能界面
从系统左侧菜单栏,找到「运输管理」模块,点击「车次派发」选项,进入功能主界面;
界面清晰划分 “单辆派发”“批量导入”功能区,操作入口直观,适配用户高效操作习惯。
核心操作:单车辆手动派发
按步骤填写必填信息,完成单车辆运输任务派发,所有带「红色 *」的字段为必填项:
选择所属公司:从下拉菜单中勾选目标公司,明确任务归属;
绑定车辆 / 设备:录入「设备 ID」或直接选择「运输车辆」,系统自动匹配并带出关联的车辆、设备完整信息(如车辆编号、所属车队);
支持模糊搜索匹配,减少手动输入误差。
关联班线:录入「班线名称」,系统自动搜索符合条件的预设路线,点击选择即可(需提前在「路线管理」中创建班线);
指定司机:录入「司机姓名」,系统自动搜索系统内已备案司机,直接选择;
支持录入系统外未备案的临时司机信息,灵活适配运输临时调度场景。
- 设置时间规划:选择「计划发车时间」「预计到达时间」(支持国际标准时间格式,适配不同时区);
按需填写其他补充信息(如货物品名、运输备注等)。
选择完成规则:从三种规则中勾选其一(如 “抵达终点围栏完成”“手动确认完成” 等),勾选后,下次派发运单时将自动默认该规则,减少重复操作。确认派发:核对所有信息无误后,点击「保存」按钮,派发成功;
查看任务状态:成功后可在「运单管理 - 未发车」页面查看该任务,后续状态将自动流转。
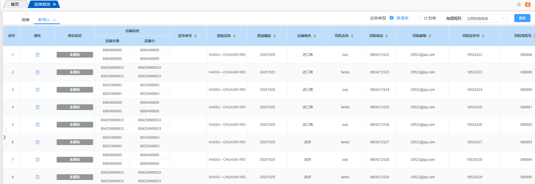
高效操作:多车辆批量导入
支持一次性派发多车辆任务,大幅提升大规模调度效率:下载导入模板:点击界面「批量导入」区域的「下载模板」按钮,获取标准 Excel 模板;
填写模板信息必填项:设备 ID、运输车辆、班线名称、计划发车时间、计划到达时间(需严格按模板格式填写,时间格式支持国际通用标准);
选填项:司机姓名、货物品名、备注等,可根据实际业务需求补充。
上传并导入:填写完成后,点击「选择文件」,上传填写好的模板;系统校验数据无误后,点击「保存」,批量派发成功;
任务查看:导入成功的任务将同步至「派车清单 - 未发车」页面,可批量查看与管理。
文档更新时间: 2025-11-26 17:42 作者:苏莉云